การประเมินคุณธรรมและความโปร่งใส ITA

– MOIT 3 –

ไตรมาสที่ 7

Download File

MOIT3-1
บันทึกข้อความ.68.pdf

Download File

MOIT3-1
บันทึกข้อความ.68.docx

Download File

MOIT3-2
รายงานการวิเคราะห์ผลการจัดซื้อจัดจ้าง-ปี68.pdf

Download File

MOIT3-2
รายงานการวิเคราะห์ผลการจัดซื้อจัดจ้าง-ปี68.docx

Download File

MOIT3-3
แบบฟอร์มการขอเผยแพร่ข้อมูลผ่านเว็บไซต์68.pdf

Download File

MOIT3-3
แบบฟอร์มการขอเผยแพร่ข้อมูลผ่านเว็บไซต์68.docx

ไตรมาสที่ 8

Download File

MOIT3-1
บันทึกข้อความ.1.768.pdf

Download File

MOIT3-1
บันทึกข้อความ.1.768.docx

Download File

MOIT3-2
รายงานการวิเคราะห์ผลการจัดซื้อจัดจ้าง-ปี68.docx

Download File

MOIT3-2
รายงานการวิเคราะห์ผลการจัดซื้อจัดจ้าง-ปี68.pdf

Download File

MOIT3-3
แบบฟอร์มการขอเผยแพร่ข้อมูลผ่านเว็บไซต์68.docx

Download File

MOIT3-3
แบบฟอร์มการขอเผยแพร่ข้อมูลผ่านเว็บไซต์68.pdf

ไตรมาสที่ 9

Download File

MOIT3-1
บันทึกข้อความ.68.docx

Download File

MOIT3-1
บันทึกข้อความ.68.pdf

Download File

MOIT3-2
รายงานการวิเคราะห์ผลการจัดซื้อจัดจ้าง-ปี68.docx

Download File

MOIT3-2
รายงานการวิเคราะห์ผลการจัดซื้อจัดจ้าง-ปี68.pdf

Download File

MOIT3-3
แบบฟอร์มการขอเผยแพร่ข้อมูลผ่านเว็บไซต์69.docx

Download File

MOIT3-3
แบบฟอร์มการขอเผยแพร่ข้อมูลผ่านเว็บไซต์69.pdf

– MOIT 4 –

ไตรมาสที่ 7

Download File

MOIT4-1
บันทึกข้อความ.pdf

Download File

MOIT4-1
บันทึกข้อความ.docx

Download File

MOIT4-2
จัดสรรงบประมาณ.docx

Download File

MOIT4-2
จัดสรรงบประมาณ.pdf

Download File

MOIT4-3
แผนจัดซื้อจัดจ้าง.docx

Download File

MOIT4-3
แผนจัดซื้อจัดจ้าง.pdf

Download File

MOIT4-4
ปิด-ปลดประกาศ.docx

Download File

MOIT4-4
ปิด-ปลดประกาศ.pdf

Download File

MOIT4-5
ประกาศแผนจัดซื้อจัดจ้างและการจัดหาพัสดุ.docx

Download File

MOIT4-5
ประกาศแผนจัดซื้อจัดจ้างและการจัดหาพัสดุ.pd

Download File

MOIT4-6
บันทึกข้อความรายงาน.docx

Download File

MOIT4-6
บันทึกข้อความรายงาน.pdf

Download File

MOIT4-7
รายงานผลการดำเนินงานตามแผน.docx

Download File

MOIT4-7
รายงานผลการดำเนินงานตามแผน.pdf

Download File

MOIT4-8
แบบฟอร์มการขอเผยแพร่ข้อมูลผ่านเว็บไซต์.docx

Download File

MOIT4-8
แบบฟอร์มการขอเผยแพร่ข้อมูลผ่านเว็บไซต์.pdf

Download File

MOIT4-9
บันทึกข้อความแจ้งเวียน.docx

Download File

MOIT4-9
บันทึกข้อความแจ้งเวียน.pdf

Download File

MOIT4-10
ประกาศ-สป-.pdf

Download File

MOIT4-11
แบบฟอร์มการขอเผยแพร่ข้อมูลผ่านเว็บไซต์.docx

Download File

MOIT4-11
แบบฟอร์มการขอเผยแพร่ข้อมูลผ่านเว็บไซต์.pdf

Download File

MOIT4-11
แบบฟอร์มการขอเผยแพร่ข้อมูลผ่านเว็บไซต์68.docx

Download File

MOIT4-11
แบบฟอร์มการขอเผยแพร่ข้อมูลผ่านเว็บไซต์68.pdf

ไตรมาสที่ 8

Download File

MOIT4-1
บันทึกข้อความ.docx

Download File

MOIT4-1
บันทึกข้อความ.pdf

Download File

MOIT4-2
จัดสรรงบประมาณ.docx

Download File

MOIT4-2
จัดสรรงบประมาณ.pdf

Download File

MOIT4-3
แผนจัดซื้อจัดจ้าง.docx

Download File

MOIT4-3
แผนจัดซื้อจัดจ้าง.pdf

Download File

MOIT4-4
ปิด-ปลดประกาศ.docx

Download File

MOIT4-4
ปิด-ปลดประกาศ.pdf

Download File

MOIT4-5
ประกาศแผนจัดซื้อจัดจ้างและการจัดหาพัสดุ.docx

Download File

MOIT4-5
ประกาศแผนจัดซื้อจัดจ้างและการจัดหาพัสดุ.pdf

Download File

MOIT4-6
บันทึกข้อความรายงาน.docx

Download File

MOIT4-6
บันทึกข้อความรายงาน.pdf

Download File

MOIT4-7
รายงานผลการดำเนินงานตามแผน.docx

Download File

MOIT4-7
รายงานผลการดำเนินงานตามแผน.pdf

Download File

MOIT4-8
แบบฟอร์มการขอเผยแพร่ข้อมูลผ่านเว็บไซต์.docx

Download File

MOIT4-8
แบบฟอร์มการขอเผยแพร่ข้อมูลผ่านเว็บไซต์.pdf

Download File

MOIT4-9
บันทึกข้อความแจ้งเวียน.docx

Download File

MOIT4-9
บันทึกข้อความแจ้งเวียน.pdf

Download File

MOIT4-10
ประกาศ-สป-.pdf

Download File

MOIT4-11
แบบฟอร์มการขอเผยแพร่ข้อมูลผ่านเว็บไซต์.docx

Download File

MOIT4-11
แบบฟอร์มการขอเผยแพร่ข้อมูลผ่านเว็บไซต์.pdf

Download File

MOIT4-11
แบบฟอร์มการขอเผยแพร่ข้อมูลผ่านเว็บไซต์68.docx

Download File

MOIT4-11
แบบฟอร์มการขอเผยแพร่ข้อมูลผ่านเว็บไซต์68.pdf

ไตรมาสที่ 8

Download File

MOIT4-1
บันทึกข้อความ.docx

Download File

MOIT4-1
บันทึกข้อความ.pdf

Download File

MOIT4-2
จัดสรรงบประมาณ.docx

Download File

MOIT4-2
จัดสรรงบประมาณ.pdf

Download File

MOIT4-3
แผนจัดซื้อจัดจ้าง.docx

Download File

MOIT4-4
ปิด-ปลดประกาศ.docx

Download File

MOIT4-4
ปิด-ปลดประกาศ.pdf

Download File

MOIT4-5
ประกาศแผนจัดซื้อจัดจ้างและการจัดหาพัสดุ.docx

Download File

MOIT4-5
ประกาศแผนจัดซื้อจัดจ้างและการจัดหาพัสดุ.pdf

Download File

MOIT4-6
บันทึกข้อความรายงาน.docx

Download File

MOIT4-6
บันทึกข้อความรายงาน.pdf

Download File

MOIT4-7
รายงานผลการดำเนินงานตามแผน.docx

Download File

MOIT4-7
รายงานผลการดำเนินงานตามแผน.pdf

Download File

MOIT4-8
แบบฟอร์มการขอเผยแพร่ข้อมูลผ่านเว็บไซต์.docx

Download File

MOIT4-8
แบบฟอร์มการขอเผยแพร่ข้อมูลผ่านเว็บไซต์.pdf

Download File

MOIT4-9
บันทึกข้อความแจ้งเวียน.docx

Download File

MOIT4-9
บันทึกข้อความแจ้งเวียน.pdf

Download File

MOIT4-10
ประกาศ-สป-.pdf

Download File

MOIT4-11
แบบฟอร์มการขอเผยแพร่ข้อมูลผ่านเว็บไซต์.docx

Download File

MOIT4-11
แบบฟอร์มการขอเผยแพร่ข้อมูลผ่านเว็บไซต์.pdf

– MOIT 5 –

ไตรมาสที่ 7

Download File

MOIT5-1
บันทึกข้อความรายงานผบ.docx

Download File

MOIT5-1
บันทึกข้อความรายงานผบ.pdf

Download File

MOIT5-2-4
แบบ-สขร1.docx

Download File

MOIT5-2-4
แบบ-สขร1.pdf

Download File

MOIT5-5
แบบฟอร์มการขอเผยแพร่ข้อมูลผ่านเว็บไซต์.docx

Download File

MOIT5-5
แบบฟอร์มการขอเผยแพร่ข้อมูลผ่านเว็บไซต์.pdf

Download File

MOIT5-6
บันทึกข้อความรายงานผบ.docx

Download File

MOIT5-6
บันทึกข้อความรายงานผบ.pdf

Download File

MOIT5-7-9
แบบ-สขร1.docx

Download File

MOIT5-7-9
แบบ-สขร1.pdf

Download File

MOIT5-10
แบบฟอร์มการขอเผยแพร่ข้อมูลผ่านเว็บไซต์.docx

Download File

MOIT5-10
แบบฟอร์มการขอเผยแพร่ข้อมูลผ่านเว็บไซต์.pdf

– MOIT 6 –

ไตรมาสที่ 7

Download File

MOIT6-1
บันทึกข้อความลงนาม.pdf

Download File

MOIT6-1
บันทึกข้อความลงนาม.docx

Download File

MOIT6-2
นโยบายการบริหารทรัพยากรบุคคล.docx

Download File

MOIT6-2
นโยบายการบริหารทรัพยากรบุคคล.pdf

Download File

MOIT6-3
แบบฟอร์มการขอเผยแพร่ข้อมูลผ่านเว็บไซต์.docx

Download File

MOIT6-3
แบบฟอร์มการขอเผยแพร่ข้อมูลผ่านเว็บไซต์.pdf

Download File

MOIT6-4
บันทึกข้อความลงนาม.docx

Download File

MOIT6-4
บันทึกข้อความลงนาม.pdf

Download File

MOIT6-5
รายชื่อขออนุมัติสมัครสอบคัดเลือกเข้าศึกษา-ปีการศึกษา-๒๕๖๕.docx

Download File

MOIT6-5
รายชื่อขออนุมัติสมัครสอบคัดเลือกเข้าศึกษา-ปีการศึกษา-๒๕๖๕.pdf

Download File

MOIT6-6
แบบฟอร์มการขอเผยแพร่ข้อมูลผ่านเว็บไซต์.docx

Download File

MOIT6-6
แบบฟอร์มการขอเผยแพร่ข้อมูลผ่านเว็บไซต์.pdf

ไตรมาสที่ 8

Download File

MOIT6-1
บันทึกข้อความลงนาม.docx

Download File

MOIT6-1
บันทึกข้อความลงนาม.pdf

Download File

MOIT6-2
นโยบายการบริหารทรัพยากรบุคคล.docx

Download File

MOIT6-2
นโยบายการบริหารทรัพยากรบุคคล.pdf

Download File

MOIT6-3
แบบฟอร์มการขอเผยแพร่ข้อมูลผ่านเว็บไซต์.docx

Download File

MOIT6-3
แบบฟอร์มการขอเผยแพร่ข้อมูลผ่านเว็บไซต์.pdf

Download File

MOIT6-4
บันทึกข้อความลงนาม.docx

Download File

MOIT6-4
บันทึกข้อความลงนาม.pdf

Download File

MOIT6-5
รายชื่อขออนุมัติสมัครสอบคัดเลือกเข้าศึกษา-ปีการศึกษา-๒๕๖๕.docx

Download File

MOIT6-5
รายชื่อขออนุมัติสมัครสอบคัดเลือกเข้าศึกษา-ปีการศึกษา-๒๕๖๕.pdf

Download File

MOIT6-6
แบบฟอร์มการขอเผยแพร่ข้อมูลผ่านเว็บไซต์.docx

Download File

MOIT6-6
แบบฟอร์มการขอเผยแพร่ข้อมูลผ่านเว็บไซต์.pdf

– MOIT 7 –

ไตรมาสที่ 7

Download File

MOIT7-1
บันทึกข้อความแจ้งเวียน.docx

Download File

MOIT7-1
บันทึกข้อความแจ้งเวียน.pdf

Download File

MOIT7-2
มาตรการ.docx

Download File

MOIT7-2
มาตรการ.pdf

Download File

MOIT7-3
เชิญประชุม.docx

Download File

MOIT7-3
เชิญประชุม.pdf

Download File

MOIT7-4
แจ้งเวียน.docx

Download File

MOIT7-4
แจ้งเวียน.pdf

Download File

MOIT7-5
แบบฟอร์มการขอเผยแพร่ข้อมูลผ่านเว็บไซต์.docx

Download File

MOIT7-5
แบบฟอร์มการขอเผยแพร่ข้อมูลผ่านเว็บไซต์.pdf

ไตรมาสที่ 8

Download File

MOIT7-1
บันทึกข้อความแจ้งเวียน.docx

Download File

MOIT7-1
บันทึกข้อความแจ้งเวียน.pdf

Download File

MOIT7-2
มาตรการ.docx

Download File

MOIT7-2
มาตรการ.pdf

Download File

MOIT7-3
เชิญประชุม.docx

Download File

MOIT7-3
เชิญประชุม.pdf

Download File

MOIT7-4
แจ้งเวียน.docx

Download File

MOIT7-4
แจ้งเวียน.pdf

Download File

MOIT7-5
แบบฟอร์มการขอเผยแพร่ข้อมูลผ่านเว็บไซต์.docx

Download File

MOIT7-5
แบบฟอร์มการขอเผยแพร่ข้อมูลผ่านเว็บไซต์.pdf

– MOIT 8 –

ไตรมาสที่ 7

Download File

MOIT8-1
บันทึกข้อความลงนาม.docx

Download File

MOIT8-1
บันทึกข้อความลงนาม.pdf

Download File

MOIT8-2
ประกาศ.docx

Download File

MOIT8-2
ประกาศ.pdf

Download File

MOIT8-3
บัญชีสรุปผลการประเมินการปฏิบัติราชการของข้าราชการส่วนภูมิภาคจังหวัดชัยภูมิ.docx

Download File

MOIT8-3
บัญชีสรุปผลการประเมินการปฏิบัติราชการของข้าราชการส่วนภูมิภาคจังหวัดชัยภูมิ.pdf

Download File

MOIT8ต3-1
บันทึกข้อความลงนาม.docx

Download File

MOIT8ต3-1
บันทึกข้อความลงนาม.pdf

Download File

MOIT8ต3-2
ประกาศ.docx

Download File

MOIT8ต3-2
ประกาศ.pdf

Download File

MOIT8ต3-3
บัญชีสรุปผลการประเมินการปฏิบัติราชการของข้าราชการส่วนภูมิภาคจังหวัดชัยภูมิ.docx

Download File

MOIT8ต3-3
บัญชีสรุปผลการประเมินการปฏิบัติราชการของข้าราชการส่วนภูมิภาคจังหวัดชัยภูมิ.pdf

Download File

MOIT8-4
แบบฟอร์มการขอเผยแพร่ข้อมูลผ่านเว็บไซต์.docx

Download File

MOIT8-4
แบบฟอร์มการขอเผยแพร่ข้อมูลผ่านเว็บไซต์.pdf

Download File

MOIT8ต3-4
แบบฟอร์มการขอเผยแพร่ข้อมูลผ่านเว็บไซต์.docx

Download File

MOIT8ต3-4
แบบฟอร์มการขอเผยแพร่ข้อมูลผ่านเว็บไซต์.pdf

ไตรมาสที่ 8

Download File

MOIT8-1
บันทึกข้อความลงนาม.docx

Download File

MOIT8-1
บันทึกข้อความลงนาม.pdf

Download File

MOIT8-2
ประกาศ.docx

Download File

MOIT8-2
ประกาศ.pdf

Download File

MOIT8-3
บัญชีสรุปผลการประเมินการปฏิบัติราชการของข้าราชการส่วนภูมิภาคจังหวัดชัยภูมิ.docx

Download File

MOIT8-3
บัญชีสรุปผลการประเมินการปฏิบัติราชการของข้าราชการส่วนภูมิภาคจังหวัดชัยภูมิ.pdf

Download File

MOIT8-4
แบบฟอร์มการขอเผยแพร่ข้อมูลผ่านเว็บไซต์.docx

Download File

MOIT8-4
แบบฟอร์มการขอเผยแพร่ข้อมูลผ่านเว็บไซต์.pdf

Download File

MOIT8ต3-1
บันทึกข้อความลงนาม.docx

Download File

MOIT8ต3-1
บันทึกข้อความลงนาม.pdf

Download File

MOIT8ต3-2
ประกาศ.docx

Download File

MOIT8ต3-2
ประกาศ.pdf

Download File

MOIT8ต3-3
บัญชีสรุปผลการประเมินการปฏิบัติราชการของข้าราชการส่วนภูมิภาคจังหวัดชัยภูมิ.docx

Download File

MOIT8ต3-3
บัญชีสรุปผลการประเมินการปฏิบัติราชการของข้าราชการส่วนภูมิภาคจังหวัดชัยภูมิ.pdf

Download File

MOIT8ต3-4
แบบฟอร์มการขอเผยแพร่ข้อมูลผ่านเว็บไซต์.docx

Download File

MOIT8ต3-4
แบบฟอร์มการขอเผยแพร่ข้อมูลผ่านเว็บไซต์.pdf

– MOIT 9 –

ไตรมาสที่ 7

Download File

อยู่ระหว่างดำเนินการ

Download File

อยู่ระหว่างดำเนินการ

Download File

อยู่ระหว่างดำเนินการ

Download File

อยู่ระหว่างดำเนินการ

ไตรมาสที่ 8

Download File

อยู่ระหว่างดำเนินการ

– MOIT 10 –

ไตรมาสที่ 7

Download File

MOIT10-1
คู่มือการดำเนินงาน.pdf

Download File

MOIT10-1
คู่มือการดำเนินงาน.docx

Download File

MOIT10-2
คู่มือการจัดการข้อร้องเรียน.pdf

Download File

MOIT10-2
คู่มือการจัดการข้อร้องเรียน.docx

Download File

MOIT10-3
ผังการจัดการข้อร้องเรียน.jpg

Download File

MOIT10-4
แบบฟอร์มการขอเผยแพร่ข้อมูลผ่านเว็บไซต์.docx

Download File

MOIT10-4
แบบฟอร์มการขอเผยแพร่ข้อมูลผ่านเว็บไซต์.pdf

ไตรมาสที่ 8

Download File

MOIT10-1
คู่มือการดำเนินงาน.docx

Download File

MOIT10-1
คู่มือการดำเนินงาน.pdf

Download File

MOIT10-2
คู่มือการจัดการข้อร้องเรียน.docx

Download File

MOIT10-2
คู่มือการจัดการข้อร้องเรียน.pdf

Download File

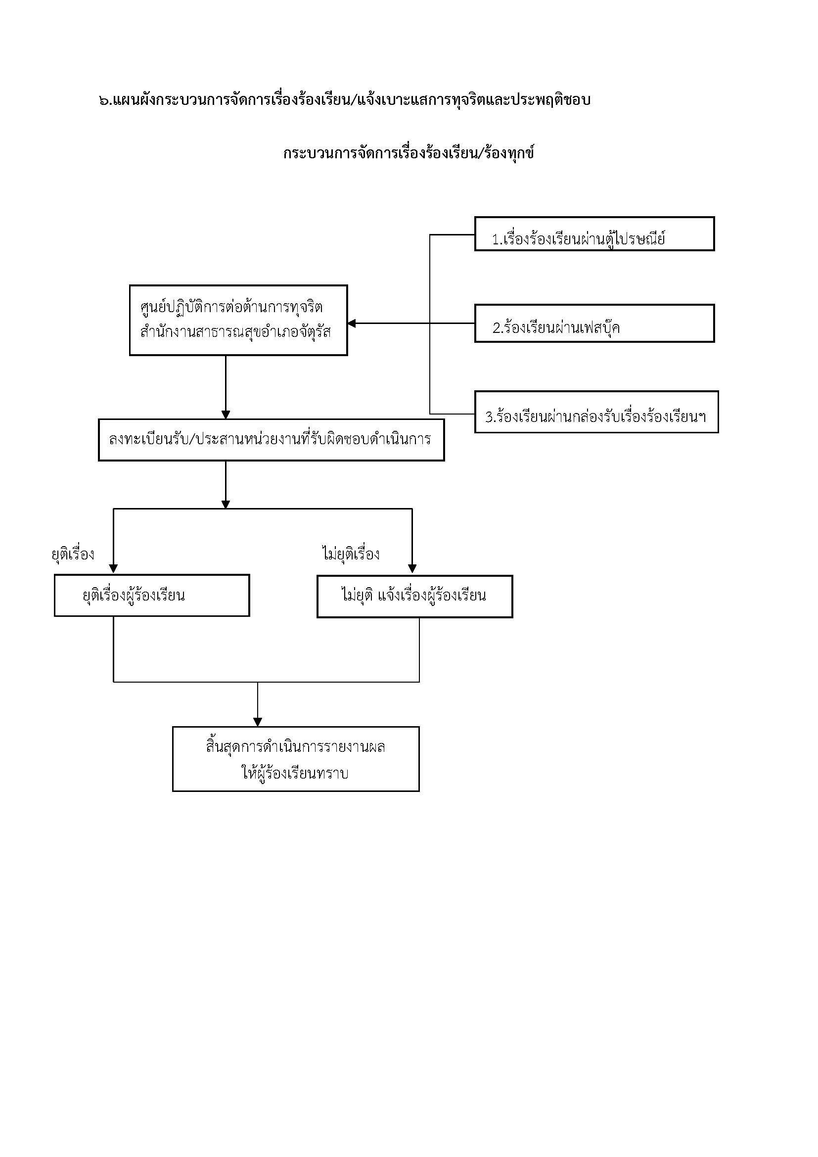
MOIT10-3
ผังการจัดการข้อร้องเรียน.docx.jpg

Download File

MOIT10-4
แบบฟอร์มการขอเผยแพร่ข้อมูลผ่านเว็บไซต์.docx

Download File

MOIT10-4
แบบฟอร์มการขอเผยแพร่ข้อมูลผ่านเว็บไซต์.pdf

– MOIT 11 –

ไตรมาสที่ 7

Download File

MOIT11-1
บันทึกข้อความลงนาม.docx

Download File

MOIT11-1
บันทึกข้อความลงนาม.pdf

Download File

MOIT11-2
บันทึกข้อความลงนามสรุป.docx

Download File

MOIT11-2
บันทึกข้อความลงนามสรุป.pdf

Download File

MOIT11-3
เรื่องร้องเรียนการปฏิบัติงาน.pdf

Download File

MOIT11-3
เรื่องร้องเรียนการปฏิบัติงาน.docx

Download File

MOIT11-4
เรื่องร้องเรียนการทุจริตและประพฤติมิชอบ.docx

Download File

MOIT11-4
เรื่องร้องเรียนการทุจริตและประพฤติมิชอบ.pdf

Download File

MOIT11ต4-1
บันทึกข้อความลงนาม.docx

Download File

MOIT11ต4-1
บันทึกข้อความลงนาม.pdf

Download File

MOIT11ต4-2
บันทึกข้อความลงนามสรุป.docx

Download File

MOIT11ต4-2
บันทึกข้อความลงนามสรุป.pdf

Download File

MOIT11ต4-3
เรื่องร้องเรียนการปฏิบัติงาน.docx

Download File

MOIT11ต4-3
เรื่องร้องเรียนการปฏิบัติงาน.pdf

Download File

MOIT11ต-4
เรื่องร้องเรียนการทุจริตและประพฤติมิชอบ.docx

Download File

MOIT11ต4-4
เรื่องร้องเรียนการทุจริตและประพฤติมิชอบ.pdf

Download File

MOIT11ต4-5
แบบฟอร์มการขอเผยแพร่ข้อมูลผ่านเว็บไซต์.docx

Download File

MOIT11ต4-5
แบบฟอร์มการขอเผยแพร่ข้อมูลผ่านเว็บไซต์.pdf

Download File

MOIT11-5
แบบฟอร์มการขอเผยแพร่ข้อมูลผ่านเว็บไซต์.docx

Download File

MOIT11-5
แบบฟอร์มการขอเผยแพร่ข้อมูลผ่านเว็บไซต์.pdf

ไตรมาสที่ 8

ไตรมาสที่ 8

Download File

MOIT11-

Download File

MOIT11-

Download File

MOIT11-

Download File

MOIT11-

Download File

MOIT11-

Download File

MOIT11-

Download File

MOIT11-

Download File

MOIT11-

Download File

MOIT11-

Download File

MOIT11-

Download File

MOIT11-

Download File

MOIT11-

Download File

MOIT11-1
บันทึกข้อความลงนาม.docx

Download File

MOIT11-1
บันทึกข้อความลงนาม.pdf

Download File

MOIT11-2
บันทึกข้อความลงนามสรุป.docx

Download File

MOIT11-2
บันทึกข้อความลงนามสรุป.pdf

Download File

MOIT11-3
เรื่องร้องเรียนการปฏิบัติงาน.docx

Download File

MOIT11-3
เรื่องร้องเรียนการปฏิบัติงาน.pdf

Download File

MOIT11-4
เรื่องร้องเรียนการทุจริตและประพฤติมิชอบ.docx

Download File

MOIT11-4
เรื่องร้องเรียนการทุจริตและประพฤติมิชอบ.pdf

Download File

MOIT11-5
แบบฟอร์มการขอเผยแพร่ข้อมูลผ่านเว็บไซต์.docx

Download File

MOIT11-5
แบบฟอร์มการขอเผยแพร่ข้อมูลผ่านเว็บไซต์.pdf

Download File

MOIT11ต4-1
บันทึกข้อความลงนาม.docx

Download File

MOIT11ต4-1
บันทึกข้อความลงนาม.pdf

Download File

MOIT11ต4-2
บันทึกข้อความลงนามสรุป.docx

Download File

MOIT11ต4-2
บันทึกข้อความลงนามสรุป.pdf

Download File

MOIT11ต4-3
เรื่องร้องเรียนการปฏิบัติงาน.docx

Download File

MOIT11ต4-3
เรื่องร้องเรียนการปฏิบัติงาน.pdf

Download File

MOIT11ต4-4
เรื่องร้องเรียนการทุจริตและประพฤติมิชอบ.docx

Download File

MOIT11ต4-4
เรื่องร้องเรียนการทุจริตและประพฤติมิชอบ.pdf

Download File

MOIT11ต4-5
แบบฟอร์มการขอเผยแพร่ข้อมูลผ่านเว็บไซต์.docx

Download File

MOIT11ต4-5
แบบฟอร์มการขอเผยแพร่ข้อมูลผ่านเว็บไซต์.pdf

– MOIT 12 –

ไตรมาสที่ 7

Download File

MOIT12-1
บันทึกข้อความขออนุมัติดำเนินโครงการ-และมีการขออนุญาตนำเผยแพร่-บนเว็บไซต์-.docx

Download File

MOIT12-1
บันทึกข้อความขออนุมัติดำเนินโครงการ-และมีการขออนุญาตนำเผยแพร่-บนเว็บไซต์-.pdf

Download File

MOIT12-2
โครงการ-อนุมัติ.pdf

ไตรมาสที่ 8

Download File

MOIT11-

Download File

MOIT11-

Download File

MOIT11-

Download File

MOIT11-

Download File

MOIT11-

Download File

MOIT11-

Download File

MOIT11-

Download File

MOIT11-

Download File

MOIT11-

Download File

MOIT11-

Download File

MOIT11-

Download File

MOIT11-

Download File

MOIT12-7
บันทึกข้อความรายงานผู้บริหารรับทราบ-สั่งการ-และมีการขออนุญาต-.docx

Download File

MOIT12-7
บันทึกข้อความรายงานผู้บริหารรับทราบ-สั่งการ-และมีการขออนุญาต-.pdf

Download File

MOIT12-8
แบบฟอร์มการขอเผยแพร่ข้อมูลผ่านเว็บไซต์.docx

Download File

MOIT12-8
แบบฟอร์มการขอเผยแพร่ข้อมูลผ่านเว็บไซต์.pdf

ไตรมาสที่ 8

Download File

MOIT12-1
บันทึกข้อความขออนุมัติดำเนินโครงการ-และมีการขออนุญาตนำเผยแพร่-บนเว็บไซต์-.docx

Download File

MOIT12-1
บันทึกข้อความขออนุมัติดำเนินโครงการ-และมีการขออนุญาตนำเผยแพร่-บนเว็บไซต์-.pdf

Download File

MOIT12-2
โครงการ-อนุมัติ.pdf

Download File

MOIT12-7
บันทึกข้อความรายงานผู้บริหารรับทราบ-สั่งการ-และมีการขออนุญาต-.docx

Download File

MOIT12-7
บันทึกข้อความรายงานผู้บริหารรับทราบ-สั่งการ-และมีการขออนุญาต-.pdf

Download File

MOIT12-8
แบบฟอร์มการขอเผยแพร่ข้อมูลผ่านเว็บไซต์.docx

Download File

MOIT12
นำเสนอวินัยน้องใหม่.pdf

Download File

MOIT12
นำเสนอวินัยน้องใหม่.pptx

Download File

MOIT12
บรรยายเช้า-อ.เสมอ-ธรรมาภิบาลสำหรับผู้บริห.pdf

Download File

MOIT12
บรรยายภาคบ่าย-อ.เสมอ-หลุมพรางทางการบริหาร-2.pdf

– MOIT 13 –

ไตรมาสที่ 7

Download File

MOIT13-1
บันทึกข้อความลงนามคำสั่งประกาศ.pdf

Download File

MOIT13-1
บันทึกข้อความลงนามคำสั่งประกาศ.docx

Download File

MOIT13-2-1
ประกาศ-เรื่อง-มาตรการป้องกันการรับสินบน.docx

Download File

MOIT13-2-1
ประกาศ-เรื่อง-มาตรการป้องกันการรับสินบน.pdf

Download File

MOIT13-2-2
ประกาศ-เรื่อง-มาตรการป้องกันการรับสินบนจัดซื้อจัดจ้าง.docx

Download File

MOIT13-2-2
ประกาศ-เรื่อง-มาตรการป้องกันการรับสินบนจัดซื้อจัดจ้าง.pdf

Download File

MOIT13-2-3
ประกาศ-เรื่อง-มาตรการป้องกันการรับสินบนบริจาค.docx

Download File

MOIT13-2-3
ประกาศ-เรื่อง-มาตรการป้องกันการรับสินบนบริจาค.pdf

Download File

MOIT13-2-4
ประกาศ-เรื่อง-มาตรการป้องกันการทุจริต-และ.docx

Download File

MOIT13-2-4
ประกาศ-เรื่อง-มาตรการป้องกันการทุจริต-และ.pdf

Download File

MOIT13-2-5
ประกาศ-เรื่อง-มาตรการการรับส่วนแถมพิเศษ.docx

Download File

MOIT13-2-5
ประกาศ-เรื่อง-มาตรการการรับส่วนแถมพิเศษ.pdf

Download File

MOIT13-2-6
ประกาศ-เรื่อง-มาตรการป้องกันการรับสินบน.pdf

Download File

MOIT13-2-6
ประกาศ-เรื่อง-มาตรการป้องกันการรับสินบน.docx

Download File

MOIT13-3
บันทึกข้อความเผยแพร่.docx

Download File

MOIT13-3
บันทึกข้อความเผยแพร่.pdf

Download File

MOIT13-4
แบบฟอร์มการขอเผยแพร่ข้อมูลผ่านเว็บไซต์.docx

Download File

MOIT13-4
แบบฟอร์มการขอเผยแพร่ข้อมูลผ่านเว็บไซต์.pdf

Download File

MOIT13ต4-10
บันทึกข้อความลงนามคำสั่งประกาศ.docx

Download File

MOIT13ต4-10
บันทึกข้อความลงนามคำสั่งประกาศ.pdf

Download File

MOIT13ต4-11
สรุปผลการกำกับติดตาม-ประกาศมาตรการการป้องกันการรับสินบน-.docx

Download File

MOIT13ต4-11
สรุปผลการกำกับติดตาม-ประกาศมาตรการการป้องกันการรับสินบน-.pdf

Download File

MOIT13ต4-12
แบบฟอร์มการขอเผยแพร่ข้อมูลผ่านเว็บไซต์.docx

Download File

MOIT13ต4-12
แบบฟอร์มการขอเผยแพร่ข้อมูลผ่านเว็บไซต์.pdf

ไตรมาสที่ 8

Download File

อยู่ระหว่างดำเนินการ

– MOIT 14 –

ไตรมาสที่ 7

Download File

MOIT14-1
บันทึกข้อความลงนามคำสั่งประกาศ.docx

Download File

MOIT14-1
บันทึกข้อความลงนามคำสั่งประกาศ.pdf

Download File

MOIT14-2
ประกาศจริยธรรม-สสอ.เทพสถิต-ปี-2566.docx

Download File

MOIT14-2
ประกาศจริยธรรม-สสอ.เทพสถิต-ปี-2566.pdf

Download File

MOIT14-3
บันทึกข้อความแจ้งเวียน.docx

Download File

MOIT14-3
บันทึกข้อความแจ้งเวียน.pdf

Download File

MOIT14-4
ประกาศเจตจำนงสุจริต.docx

Download File

MOIT14-4
ประกาศเจตจำนงสุจริต.pdf

Download File

MOIT14-5
สสอ.เทพสถิต.jpg

Download File

MOIT14-6
แบบฟอร์มการขอเผยแพร่ข้อมูลผ่านเว็บไซต์.docx

Download File

MOIT14-6
แบบฟอร์มการขอเผยแพร่ข้อมูลผ่านเว็บไซต์.pdf

Download File

MOIT14ต4-7
บันทึกข้อความลงนามคำสั่งประกาศ.docx

Download File

MOIT14ต4-7
บันทึกข้อความลงนามคำสั่งประกาศ.pdf

Download File

MOIT14ต4-9
แบบฟอร์มการขอเผยแพร่ข้อมูลผ่านเว็บไซต์.docx

Download File

MOIT14ต4-9
แบบฟอร์มการขอเผยแพร่ข้อมูลผ่านเว็บไซต์.pdf

ไตรมาสที่ 8

Download File

MOIT14-1
บันทึกข้อความลงนามคำสั่งประกาศ.docx

Download File

MOIT14-1
บันทึกข้อความลงนามคำสั่งประกาศ.pdf

Download File

MOIT14-2
ประกาศจริยธรรม-สสอ.เทพสถิต-ปี-2566.docx

Download File

MOIT14-2
ประกาศจริยธรรม-สสอ.เทพสถิต-ปี-2566.pdf

Download File

MOIT14-3
บันทึกข้อความแจ้งเวียน.docx

Download File

MOIT14-3
บันทึกข้อความแจ้งเวียน.pdf

Download File

MOIT14-4
ประกาศเจตจำนงสุจริต.docx

Download File

MOIT14-4
ประกาศเจตจำนงสุจริต.pdf

Download File

MOIT14-5
สสอ.เทพสถิต.jpg

Download File

MOIT14-6
แบบฟอร์มการขอเผยแพร่ข้อมูลผ่านเว็บไซต์.docx

Download File

MOIT14ต4-7
บันทึกข้อความลงนามคำสั่งประกาศ.docx

Download File

MOIT14ต4-7
บันทึกข้อความลงนามคำสั่งประกาศ.pdf

Download File

MOIT14ต4-9
แบบฟอร์มการขอเผยแพร่ข้อมูลผ่านเว็บไซต์.docx

Download File

MOIT14ต4-9
แบบฟอร์มการขอเผยแพร่ข้อมูลผ่านเว็บไซต์.pdf

– MOIT 15 –

ไตรมาสที่ 7

Download File

อยู่ระหว่างดำเนินการ

ไตรมาสที่ 8

Download File

อยู่ระหว่างดำเนินการ

– MOIT 16 –

ไตรมาสที่ 7

Download File

MOIT16-1
บันทึกข้อความลงนาม.docx

Download File

MOIT16-1
บันทึกข้อความลงนาม.pdf

Download File

MOIT16-2
แผนปฏิบัติราชการ-คปสอ.เทพสถิต-ปี-2565.pdf

Download File

MOIT16-3
แบบฟอร์มการขอเผยแพร่ข้อมูลผ่านเว็บไซต์.docx

Download File

MOIT16-3
แบบฟอร์มการขอเผยแพร่ข้อมูลผ่านเว็บไซต์.pdf

Download File

MOIT16-4
บันทึกข้อความลงนาม.docx

Download File

MOIT16-4
บันทึกข้อความลงนาม.pdf

Download File

MOIT16-6
แบบฟอร์มการขอเผยแพร่ข้อมูลผ่านเว็บไซต์.docx

Download File

MOIT16-6
แบบฟอร์มการขอเผยแพร่ข้อมูลผ่านเว็บไซต์.pdf

ไตรมาสที่ 8

Download File

MOIT16-1
บันทึกข้อความลงนาม.pdf

Download File

MOIT16-1
บันทึกข้อความลงนาม.docx

Download File

MOIT16-2
แผนปฏิบัติราชการ-คปสอ.เทพสถิต-ปี-2565.pdf

Download File

MOIT16-3
แบบฟอร์มการขอเผยแพร่ข้อมูลผ่านเว็บไซต์.docx

Download File

MOIT16-3
แบบฟอร์มการขอเผยแพร่ข้อมูลผ่านเว็บไซต์.pdf

Download File

MOIT16-4
บันทึกข้อความลงนาม.docx

Download File

MOIT16-4
บันทึกข้อความลงนาม.pdf

Download File

MOIT16-6
แบบฟอร์มการขอเผยแพร่ข้อมูลผ่านเว็บไซต์.docx

Download File

MOIT16-6
แบบฟอร์มการขอเผยแพร่ข้อมูลผ่านเว็บไซต์.pdf

– MOIT 17 –

ไตรมาสที่ 7

Download File

MOIT17-1
บันทึกข้อความลงนาม.docx

Download File

MOIT17-1
บันทึกข้อความลงนาม.pdf

Download File

MOIT17-2
รายงานผลการกำกับติดตาม-กำกับติดตามแผนป้องกัน-ปราบปรามการทุจริต.docx

Download File

MOIT17-2
รายงานผลการกำกับติดตาม-กำกับติดตามแผนป้องกัน-ปราบปรามการทุจริต.pdf

Download File

MOIT17-3
แบบฟอร์มการขอเผยแพร่ข้อมูลผ่านเว็บไซต์.docx

Download File

MOIT17-3
แบบฟอร์มการขอเผยแพร่ข้อมูลผ่านเว็บไซต์.pdf

Download File

MOIT17-4
บันทึกข้อความลงนาม.docx

Download File

MOIT17-4
บันทึกข้อความลงนาม.pdf

Download File

MOIT17ต4-1
บันทึกข้อความลงนาม.docx

Download File

MOIT17ต4-1
บันทึกข้อความลงนาม.pdf

Download File

MOIT17ต4-2
รายงานผลการกำกับติดตาม-กำกับติดตามแผนป้องกัน-ปราบปรามการทุจริต.docx

Download File

MOIT17ต4-2
รายงานผลการกำกับติดตาม-กำกับติดตามแผนป้องกัน-ปราบปรามการทุจริต.pdf

Download File

MOIT17ต4-3
แบบฟอร์มการขอเผยแพร่ข้อมูลผ่านเว็บไซต์.docx

Download File

MOIT17ต4-3
แบบฟอร์มการขอเผยแพร่ข้อมูลผ่านเว็บไซต์.pdf

Download File

MOIT17ต4-4
บันทึกข้อความลงนาม.docx

Download File

MOIT17ต4-4
บันทึกข้อความลงนาม.pdf

Download File

MOIT17-5
รายงานผลกำกับติดตาม-กำกับติดตามแผนส่งเสริมคุณธรรม.pdf

Download File

MOIT17-5
รายงานผลกำกับติดตาม-กำกับติดตามแผนส่งเสริมคุณธรรม.docx

Download File

MOIT17ต4-5
รายงานผลกำกับติดตาม-กำกับติดตามแผนส่งเสริมคุณธรรม.docx

Download File

MOIT17ต4-5
รายงานผลกำกับติดตาม-กำกับติดตามแผนส่งเสริมคุณธรรม.pdf

Download File

MOIT17-6
แบบฟอร์มการขอเผยแพร่ข้อมูลผ่านเว็บไซต์.docx

Download File

MOIT17-6
แบบฟอร์มการขอเผยแพร่ข้อมูลผ่านเว็บไซต์.pdf

ไตรมาสที่ 8

Download File

MOIT17-1
บันทึกข้อความลงนาม.docx

Download File

MOIT17-1
บันทึกข้อความลงนาม.pdf

Download File

MOIT17-2
รายงานผลการกำกับติดตาม-กำกับติดตามแผนป้องกัน-ปราบปรามการทุจริต.docx

Download File

MOIT17-2
รายงานผลการกำกับติดตาม-กำกับติดตามแผนป้องกัน-ปราบปรามการทุจริต.pdf

Download File

MOIT17-3
แบบฟอร์มการขอเผยแพร่ข้อมูลผ่านเว็บไซต์.docx

Download File

MOIT17-3
แบบฟอร์มการขอเผยแพร่ข้อมูลผ่านเว็บไซต์.pdf

Download File

MOIT17-4
บันทึกข้อความลงนาม.docx

Download File

MOIT17-4
บันทึกข้อความลงนาม.pdf

Download File

MOIT17-5
รายงานผลกำกับติดตาม-กำกับติดตามแผนส่งเสริมคุณธรรม.docx

Download File

MOIT17-5
รายงานผลกำกับติดตาม-กำกับติดตามแผนส่งเสริมคุณธรรม.pdf

Download File

MOIT17-6
แบบฟอร์มการขอเผยแพร่ข้อมูลผ่านเว็บไซต์.docx

Download File

MOIT17-6
แบบฟอร์มการขอเผยแพร่ข้อมูลผ่านเว็บไซต์.pdf

Download File

MOIT17ต4-1
บันทึกข้อความลงนาม.docx

Download File

MOIT17ต4-1
บันทึกข้อความลงนาม.pdf

Download File

MOIT17ต4-2
รายงานผลการกำกับติดตาม-กำกับติดตามแผนป้องกัน-ปราบปรามการทุจริต.docx

Download File

MOIT17ต4-2
รายงานผลการกำกับติดตาม-กำกับติดตามแผนป้องกัน-ปราบปรามการทุจริต.pdf

Download File

MOIT17ต4-3
แบบฟอร์มการขอเผยแพร่ข้อมูลผ่านเว็บไซต์.docx

Download File

MOIT17ต4-3
แบบฟอร์มการขอเผยแพร่ข้อมูลผ่านเว็บไซต์.pdf

Download File

MOIT17ต4-4
บันทึกข้อความลงนาม.docx

Download File

MOIT17ต4-4
บันทึกข้อความลงนาม.pdf

Download File

MOIT17ต4-5
รายงานผลกำกับติดตาม-กำกับติดตามแผนส่งเสริมคุณธรรม.docx

Download File

MOIT17ต4-5
รายงานผลกำกับติดตาม-กำกับติดตามแผนส่งเสริมคุณธรรม.pdf

– MOIT 19 –

ไตรมาสที่ 7

Download File

MOIT19-1
บันทึกข้อความลงนาม.docx

Download File

MOIT19-1
บันทึกข้อความลงนาม.pdf

Download File

MOIT19-2
คู่มือประโยชน์ทับซ้อน-.pdf

Download File

MOIT19-3
บันทึกข้อความลงนาม.docx

Download File

MOIT19-3
บันทึกข้อความลงนาม.pdf

Download File

MOIT19-4
บันทึกข้อความลงนาม.docx

Download File

MOIT19-4
บันทึกข้อความลงนาม.pdf

Download File

MOIT19-5
แบบฟอร์มการขอเผยแพร่ข้อมูลผ่านเว็บไซต์.docx

Download File

MOIT19-5
แบบฟอร์มการขอเผยแพร่ข้อมูลผ่านเว็บไซต์.pdf

Download File

MOIT19-6
คำสั่ง-ชมรมจริยธรรม.docx

Download File

MOIT19-6
คำสั่ง-ชมรมจริยธรรม.pdf

Download File

MOIT19-6
ระเบียบ.docx

Download File

MOIT19-6
ระเบียบ.pdf

Download File

MOIT19-7
รายชื่อสมาชิกชมรมส่งเสริมคุณธรรมจริยธรรม-STRONG-MANANG-.docx

Download File

MOIT19-7
รายชื่อสมาชิกชมรมส่งเสริมคุณธรรมจริยธรรม-STRONG-MANANG-.pdf

Download File

MOIT19-8
รูปภาพ.docx

Download File

MOIT19-8
รูปภาพ.pdf

Download File

MOIT19-9
แบบฟอร์มการขอเผยแพร่ข้อมูลผ่านเว็บไซต์.docx

Download File

MOIT19-9
แบบฟอร์มการขอเผยแพร่ข้อมูลผ่านเว็บไซต์.pdf

ไตรมาสที่ 8

Download File

MOIT19-1
บันทึกข้อความลงนาม.docx

Download File

MOIT19-1
บันทึกข้อความลงนาม.pdf

Download File

MOIT19-2
คู่มือประโยชน์ทับซ้อน-.pdf

Download File

MOIT19-3
บันทึกข้อความลงนาม.docx

Download File

MOIT19-3
บันทึกข้อความลงนาม.pdf

Download File

MOIT19-4
บันทึกข้อความลงนาม.docx

Download File

MOIT19-4
บันทึกข้อความลงนาม.pdf

Download File

MOIT19-5
แบบฟอร์มการขอเผยแพร่ข้อมูลผ่านเว็บไซต์.docx

Download File

MOIT19-5
แบบฟอร์มการขอเผยแพร่ข้อมูลผ่านเว็บไซต์.pdf

Download File

MOIT19-6
คำสั่ง-ชมรมจริยธรรม.docx

Download File

MOIT19-6
คำสั่ง-ชมรมจริยธรรม.pdf

Download File

MOIT19-6
ระเบียบ.docx

Download File

MOIT19-6
ระเบียบ.pdf

Download File

MOIT19-7
รายชื่อสมาชิกชมรมส่งเสริมคุณธรรมจริยธรรม-STRONG-MANANG-.docx

Download File

MOIT19-7
รายชื่อสมาชิกชมรมส่งเสริมคุณธรรมจริยธรรม-STRONG-MANANG-.pdf

Download File

MOIT19-8
รูปภาพ.docx

Download File

MOIT19-9
แบบฟอร์มการขอเผยแพร่ข้อมูลผ่านเว็บไซต์.docx

– MOIT 20 –

ไตรมาสที่ 7

Download File

MOIT20-1
บันทึกข้อความลงนาม.docx

Download File

MOIT20-1
บันทึกข้อความลงนาม.pdf

Download File

MOIT20-2
รายงานเรี่ยไร.docx

Download File

MOIT20-2
รายงานเรี่ยไร.pdf

Download File

MOIT20-2-01
MOPH-Solicit-Report-System-_-MSRS.pdf

Download File

MOIT20-2-02
MOPH-Solicit-Report-System-_-MSRS.pdf

Download File

MOIT20-2-03
MOPH-Solicit-Report-System-_-MSRS.pdf

Download File

MOIT20-2-04
MOPH-Solicit-Report-System-_-MSRS.pdf

Download File

MOIT20-3
แบบฟอร์มการขอเผยแพร่ข้อมูลผ่านเว็บไซต์.docx

Download File

MOIT20-3
แบบฟอร์มการขอเผยแพร่ข้อมูลผ่านเว็บไซต์.pdf

Download File

MOIT20ต4-2-01
MOPH-Solicit-Report-System-_-MSRS.pdf

Download File

MOIT20ต4-2-02
MOPH-Solicit-Report-System-_-MSRS.pdf

Download File

MOIT20ต4-2-03
MOPH-Solicit-Report-System-_-MSRS.pdf

Download File

MOIT20ต4-2-04
MOPH-Solicit-Report-System-_-MSRS.pdf

Download File

MOIT20ต4-3
แบบฟอร์มการขอเผยแพร่ข้อมูลผ่านเว็บไซต์.docx

Download File

MOIT20ต4-3
แบบฟอร์มการขอเผยแพร่ข้อมูลผ่านเว็บไซต์.pdf

Download File

MOIT20
Capture-5

– MOIT 21 –

ไตรมาสที่ 7

Download File

อยุ่ระหว่างดำเนินการ

ไตรมาสที่ 8

Download File

อยุ่ระหว่างดำเนินการ

– MOIT 22 –

ไตรมาสที่ 7

Download File

MOIT22-1
บันทึกข้อความลงนามคำสั่งประกาศ.docx

Download File

MOIT22-1
บันทึกข้อความลงนามคำสั่งประกาศ.pdf

Download File

MOIT22-2
ประกาศ-เรื่อง-มาตรการป้องกันการรับสินบน.docx

Download File

MOIT22-2
ประกาศ-เรื่อง-มาตรการป้องกันการรับสินบน.pdf

Download File

MOIT22-3
กิจกรรม.docx

Download File

MOIT22-3
กิจกรรม.pdf

Download File

MOIT22-5
แบบฟอร์มการขอเผยแพร่ข้อมูลผ่านเว็บไซต์.docx

Download File

MOIT22-5
แบบฟอร์มการขอเผยแพร่ข้อมูลผ่านเว็บไซต์.pdf

Download File

MOIT22-4
-สสอ.เทพสถิต.jpg

ไตรมาสที่ 8

Download File

MOIT22-1
บันทึกข้อความลงนามคำสั่งประกาศ.pdf

Download File

MOIT22-1
บันทึกข้อความลงนามคำสั่งประกาศ.docx

Download File

MOIT22-2
ประกาศ-เรื่อง-มาตรการป้องกันการรับสินบน.docx

Download File

MOIT22-2
ประกาศ-เรื่อง-มาตรการป้องกันการรับสินบน.pdf

Download File

MOIT22-3
กิจกรรม.docx

Download File

MOIT22-3
กิจกรรม.pdf

Download File

MOIT22-5
แบบฟอร์มการขอเผยแพร่ข้อมูลผ่านเว็บไซต์.docx

Download File

MOIT22-5
แบบฟอร์มการขอเผยแพร่ข้อมูลผ่านเว็บไซต์.pdf

– MOIT 23 –

ไตรมาสที่ 7

Download File

MOIT23-1
บันทึกข้อความลงนามคำสั่งประกาศ.docx

Download File

MOIT23-1
บันทึกข้อความลงนามคำสั่งประกาศ.pdf

Download File

MOIT23-2
ประกาศ-เรื่อง-เจตนารมณ์.docx

Download File

MOIT23-2
ประกาศ-เรื่อง-เจตนารมณ์.pdf

Download File

MOIT23ต4-4
บันทึกข้อความลงนามคำสั่งประกาศ.docx

Download File

MOIT23ต4-4
บันทึกข้อความลงนามคำสั่งประกาศ.pdf

ไตรมาสที่ 8

Download File

MOIT23-1
บันทึกข้อความลงนามคำสั่งประกาศ.docx

Download File

MOIT23-1
บันทึกข้อความลงนามคำสั่งประกาศ.pdf

Download File

MOIT23-2
ประกาศ-เรื่อง-เจตนารมณ์.docx

Download File

MOIT23-2
ประกาศ-เรื่อง-เจตนารมณ์.pdf

Download File

MOIT23ต4-4
บันทึกข้อความลงนามคำสั่งประกาศ.docx

Download File

MOIT23ต4-4
บันทึกข้อความลงนามคำสั่งประกาศ.pdf

สำนักงานสาธารณสุข
อำเภอเทพสถิต จังหวัดชัยภูมิ

สำนักงานสาธารณสุขอำเภอเทพสถิต
ม.1 ต.วะตะแบก อ.เทพสถิต จ. ชัยภูมิ 36230
044-857101
tstcare9@gmail.com
สำนักงานสาธารณสุขอำเภอเทพสถิต จังหวัดชัยภูมิ

Menu

  • หน้าแรก
  • PMQA
  • เกี่ยวกับเรา

 

  • เอกสารและแบบฟอร์มต่างๆ
  • สถาณการณ์ควบคุมโรค
  • ติดต่อเรา

 

  • ITA
  • ข้อมูลเจ้าหน้าที่

Copyright 2023 © สำนักงานสาธารณสุข อำเภอเทพสถิต จังหวัดชัยภูมิ